특허
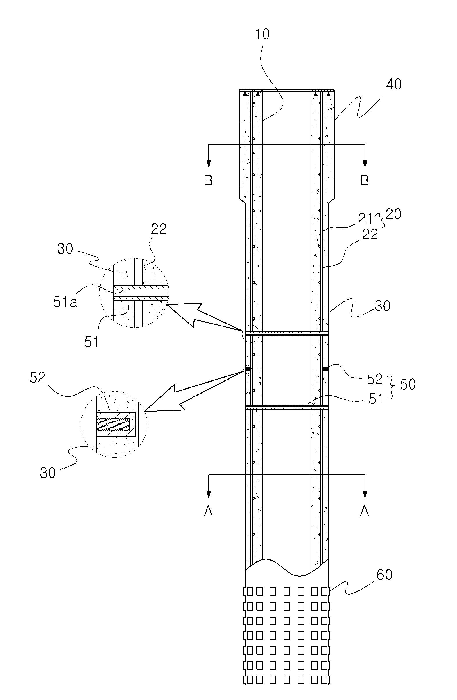
다각형상을 가진 원심성형기둥 CENTRIFUGAL PRECAST CONCRETE COLUMN WITH POLYGONAL SHAPE

| 출원번호(일자) | 1020110095580 (2011.09.22) |
|---|
| 등록번호(일자) | 1013395090000 (2013.12.03) |
|---|
- 2026-03-04

| 출원번호(일자) | 1020110095580 (2011.09.22) |
|---|
| 등록번호(일자) | 1013395090000 (2013.12.03) |
|---|
KO
EN